Jul
30
2020
阿里云ECS云服务器安全组中查看到不认识的非本账号下业务的IP
在使用ECS对安全组进行查看时,用户查看到在安全组内网入方向和公网入方向中存在一些安全组规则,其中的IP并非用户帐号中的ECS、SLB等业务的IP。比如:
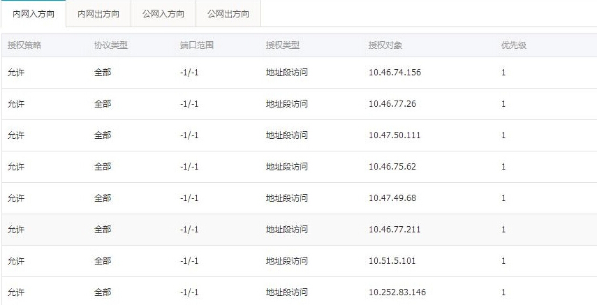
内网入方向安全组规则中涉及的IP:
10.46.77.26 10.46.74.156 10.47.50.111 10.46.75.62 10.47.49.68 10.46.77.211 10.51.5.101 10.252.83.146
公网入方向安全组规则中涉及的IP:
112.124.140.250 112.124.140.251 112.124.140.252 120.55.129.2 120.55.129.1
如下图案例所示:
用户可以检查是否使用数据传输服务DTS进行数据库迁移,上述IP是数据传输服务DTS的服务器IP,DTS会在配置迁移任务时,将DTS服务器的IP列表添加到实例的安全组中,防止因为安全组限制,DTS与云服务器连接受限而导致迁移失败。
本公司销售:阿里云新/老客户,只要购买阿里云,即可享受折上折优惠!>


分类:
已被围观 










我有话说: